嘉凯城集团擅长开发高端别墅嘉凯城集团,以及城市豪宅代表作有上海曼荼园,位于上海佘山别墅国家旅游度假区...
154
2022-10-17
1、加元以上汇率是按以下最新汇率计算的中国银行加元兑人民币实时汇率现汇,现汇。 2、1手机银行点击首...
293
2022-10-17
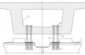
1、进行减隔震设计的建筑即减隔震技术减隔震我国是一个地震频发且高层建筑众多的国家减隔震,每次发生烈度...
251
2022-10-17
这跟什么品牌的电机没有关系 如果电机使用的场合湿度大佳木斯电机股份有限公司,或昼夜温差大佳木斯电机股...
230
2022-10-17
现在工行的口令要开通手机验证信息才可以单笔支付2000嘉实基金网站,每天上限5000如果开通手机验证...
245
2022-10-17
这个我也算是嘉和生物了解一些,我师姐就在那工作,那公司在北京也算个不小嘉和生物的,如果北京上学的集体...
159
2022-10-17
201509 ,辞去济宁市长一职,加入华大基因并出任深圳国家基因库主任 ,其间自2016年3月起,担...
156
2022-10-17
法律分析监察机关是行使国家监察职能的专责机关监察机关,对所有行使公共权力的公职人员进行监察监察机关,...
140
2022-10-17
因汇率实时波动,您可以参考招商银行外汇“实时汇率”,请进入招商银行一网通主页,点击页面中部加拿大6万...
1.7K+
2022-10-17
日期20070120 货币名称 现汇买入价 现钞买入价 卖出价 基准价 中行折算价 发布时间 加拿大...
200
2022-10-17